New PlayStation Plus Games Lineup Revealed

The availability of titles on the service may
PlanetSide Arena Servers Being Shut Down by Daybreak Games
PlanetSide Arena Servers Being Shut Down by Daybreak Games
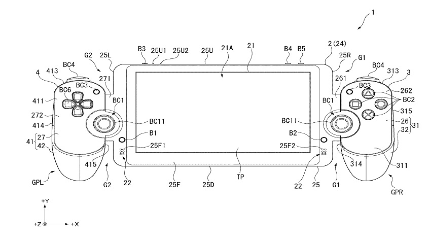
Is Sony Patent from 2015 the PS Vita Succesor?

Is Sony Patent from 2015 the PS Vita Succesor? NeoGaf users recently spotted a patent for a new handheld Device the patent from Sony was filed back in 2015 but was only recently published. In the diagrams we can see that there is an AC port, a mini-USB port and other features that seem to […]
Unveiled SportsBar VR For a Pub Games Experience At Home

Unveiled SportsBar VR For a Pub Games Experience At Home. Releasing on October 13, developers Perilous Orbit and Cherry Pop Games unveiled today SportsBar VR for Sony’s PlayStation VRÂ and is set to release later this month, SportsBar VR features six-player, multiplayer VR and more than seven pub games in the VR bar including Pool, […]
Kill Strain Launching on July 19, Early Access for PS Plus

Kill Strain Launching on July 19, Early Access for PS Plus Sony San Diego is getting ready to release the second of its three free-to-play PlayStation 4 games. Kill Strain pits two teams of mercenaries against powerful mutants and a ticking clock. The top-down multiplayer game features a unique mechanic that sees team sizes and […]
Microsoft Announced Cross Network Play Across Platforms

Microsoft Announced Cross Network Play Across Platforms Microsoft has announced the opening of it’s Xbox Live service, stating that the service will natively support cross-platform play between Xbox One, Windows 10, and other “online multiplayer networks.” This means that it opens the Xbox Live platform so that it can connect with players on Sony’s Playstation […]
No Man’s Sky Release Date Revealed
No Man’s Sky Release Date Revealed For all of you who have been waiting all this time for the ambitious procedural generated space flight adventure game, there is now reason to rejoice. No Man’s Sky finally has a definitive release date, launching this June 21 for both the Playstation 4 and PC via Steam. This […]
Sony Announces The Formation Of Sony Interactive Entertainment LLC, Goodbye SCEI..
Sony Announces The Formation Of Sony Interactive Entertainment LLC, Goodbye SCEI.. Today Sony Computer Entertainment and Sony Network Entertainment announced the formation of Sony Interactive Entertainment LLC, effectively retiring the old SCE (Sony Computer Entertainment) naming to the new SIEL (Sony Interactive Entertainment LLC). When the first PlayStation Launched, we all remembered the shiny SCEA […]