Siliconera has spotted a new patent from Nintendo for a Joy-Con add-on which turns the controller into a touch pen. Registered on June 4, 2019, Nintendo’s invention would give room for extra creativity for some point and click games.
A simple idea that could be a game changer for the handheld device, it’s basically a pen that attaches to a joy-con, intended to be used in Hanheld mode.
While most can think the new device as just a touch pen like the already available for the Switch, and some might feel the new gadget bulky and uncomfortable for drawing or writing, the extra functions given by the controller might lead to a different way to use the pointing device.
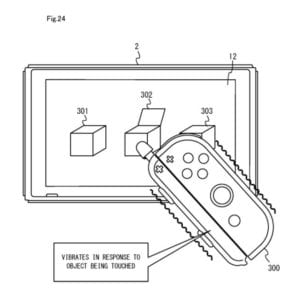
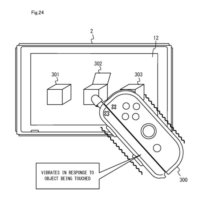
The patent reveals that the add-on has a rumble functionality, this would let the pen have some feedback toward the user. A puzzle game could, let the player know if a move is wrong by the vibration of the pen.
The pen is not connected to a joy-con just for the rumble functionality, the pen would also benefit from the buttons, as pictured in the patent, functions can be swapped with the touch of a button.
Siliconera points at what Nintendo’s might be planning for the new add-on:
With games like Dr. Kawashima’s Brain Training for Nintendo Switch coming out, as well as touchscreen functions like with Super Mario Maker 2, it’s not surprising that Nintendo is looking for ways to cut down on extra tools like the stylus pen that’s given out with physical copies. It could also be useful if Nintendo decides to make a Switch iteration of the Art Academy series. It seems like a neat addition to the Switch’s peripherals, and an overall upgrade to the straps included with the Switch at base.
Stay tuned at Gaming Instincts via Twitter, YouTube and Facebook for more gaming news.
No related posts.





